|

|
|
NOTE: When doing the trunk light test, make sure to install the
bulb correctly.
|
|
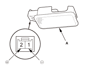
1.
|
Check for continuity between terminals No. 1 ( )
and No. 2 ( ).
If there is no continuity, check the bulb. Is the bulb is OK, replace
the trunk light (A):
|
|

|
Make sure the correct test lead (+or -) is placed
on the terminal.
|
|
|

|
When checking for continuity across the diode,
use the diode setting ( )
on the digital volt/ohm meter to check the diode
bias.
|
|
|

|
Be aware of this characteristic; a diode is one
that conducts fully in one direction (forward) and
not at all in the opposite direction (reverse).
|
|
|
|