Honda Civic Service Manual: Seat Belt Shoulder Anchor Adjuster Removal and Installation
8541A1 LEFT
8541A2 RIGHT

SRS components are located in this area. Review the SRS component locations
and the precautions and procedures before doing repairs or service.
|
1. |
Battery Terminal (SRS) - Disconnection |

|
|
1.
|
Make sure the ignition switch is in LOCK (0).
|
|
2.
|
Disconnect and isolate the negative cable with the battery sensor
(A) from the battery.
|
|
NOTE:
|
|

|
Always disconnect the negative side first.
|
|
|

|
To protect the battery sensor connector (B) from
damage, do not hold it when removing the negative
terminal.
|
|
|

|
Do not disconnect the battery sensor from the
negative terminal (C).
|
|
|
|
3.
|
Disconnect the positive cable (D) from the battery.
|
|
4.
|
Wait at least 3 minutes before starting work.
|
|
2. |
Front Seat Belt Lower Anchor - Driver's Side |

|
|
1.
|
Remove the lower anchor cap (A).
|
|
2.
|
Remove the lower anchor bolt (B).
|
|

|
4-door (without outer lap tensioner)
|
|
1.
|
Remove the anchor cover (A).
|
|

|
|
2.
|
Remove the lower anchor bolt (A).
|
|
unn-mmlmlusuum

|
4-door (with outer lap tensioner)
|
|
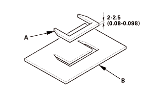
1.
|
Prepare a sheet of cardboard which is 2-2.5 mm (0.08-0.098 in)
thick.
|
|
NOTE: If there is no suitable cardboard, put some seats of thin
paper together until they will be required thick.
|
|
2.
|
Make a jig (A) from the prepared cardboard (B).
|
|

|
|
3.
|
Slide the front seat forward fully.
|
|
4.
|
Slowly insert the jig (A) into holes (B) in the back of the lap
connector cover (C) to release the sublatch spring (D). Be sure
the jig is inserted vertically.
|
|

|
|
5.
|
Leave the jig (A) set in the lap connector cover (B) to keep
the sublatch spring (C) open. Carefully insert the tip of a small
screwdriver (D) into the hole in the lap connector cover, and unlock
the lap connector by pushing in on the screwdriver.
|
|

|
|
7.
|
While pulling the front seat belt (B) upward, remove the screwdriver
(C). As soon as you remove the screwdriver from the lap connector
(D), the anchor connector will come off the lap connector.
|
|
3. |
Front Door Sill Trim - 4-Door |

|
|
1.
|
Remove the cap (A) from the front door sill trim (B).
|
|
2.
|
Remove the opener lock cylinder (C).
|
|

|
|
4.
|
Remove the front door sill trim (A).
|
|

|
|
1.
|
While pushing down on the rear seat cushion (A), pull the seat
hook handle (B) to release the hook (C).
|
|
2.
|
While pulling up the seat cushion, remove the rear door sill
trim (D).
|
|
5. |
Front and Rear Door Opening Seals as Needed |
Front

Rear

|
|
1.
|
Remove the front door opening seal (A) and the rear door opening
seal (B) as needed.
|
|

|
|
1.
|
Slide the front seat forward fully.
|
|
2.
|
13-14 Models (driver's side): Remove the B-pillar lower cover
(A).
|
|
12 Model

13-14 Models

|
|
3.
|
Remove the B-pillar lower trim (A).
|
|

|
|
1.
|
Remove the bottom area of the B-pillar upper trim (A).
|
|

|
|
2.
|
Remove the upper area of the B-pillar upper trim (A).
|
|

|
|
3.
|
Pass the front seat belt lower anchor (A) out through the hole
in the slider (B), then remove the B-pillar upper trim (C).
|
|
8. |
Front Seat Belt Upper Anchor Bolt - Driver's Side |
2-door

4-door

|
|
1.
|
Remove the upper anchor bolt (A).
|
|
9. |
Front Seat Shoulder Anchor Adjuster |

|
|
1.
|
Remove the shoulder anchor adjuster (A).
|
|

SRS components are located in this area. Review the SRS component locations
and the precautions and procedures before doing repairs or service.
|
1. |
Front Seat Shoulder Anchor Adjuster |
22mm
|
|
1.
|
Install the shoulder anchor adjuster (A).
|
|
2. |
Front Seat Belt Upper Anchor Bolt - Driver's Side |

|
|
1.
|
Assemble the washer, the collar, and the bushing on the upper
anchor bolt as shown.
|
|
NOTE: Apply medium strength liquid thread lock to the upper anchor
bolt before reinstallation.
|
|
2-door
7i1iza:2inm,mm
4-door

|
|
2.
|
Install the upper anchor bolt (A).
|
|

|
|
1.
|
Pass the front seat belt lower anchor (A) in through the hole
in the slider (B).
|
|

|
|
2.
|
Install the upper area of the B-pillar upper trim (A).
|
|

|
|
3.
|
Install the bottom area of the B-pillar upper trim (A).
|
|
12 Model

13-14 Models

|
|
1.
|
Install the B-pillar lower trim (A).
|
|

|
|
2.
|
13-14 Models (driver's side): Install the B-pillar lower cover
(A).
|
|
5. |
Front and Rear Door Opening Seals as Needed |
Front

Rear

|
|
1.
|
Install the front door opening seal (A) and the rear door opening
seal (B).
|
|

|
|
1.
|
While pulling up the rear seat cushion (A), install the rear
door sill trim (B).
|
|
2.
|
Push down the seat cushion, then install the hook (C) to the
rear seat cushion clip (D).
|
|
7. |
Front Door Sill Trim - 4-Door |

|
|
1.
|
Install the front door sill trim (A).
|
|

|
|
2.
|
Install the screw (A).
|
|

|
|
3.
|
Install the opener lock cylinder (A).
|
|
4.
|
Install the cap (B) to the front door sill trim (C).
|
|
8. |
Front Seat Belt Lower Anchor - Driver's Side |

|
|
1.
|
Assemble the washer, the collar, and the bushing on the lower
anchor bolt as shown.
|
|
NOTE: Apply medium strength liquid thread lock to the lower anchor
bolt before reinstallation.
|
|

|
|
2.
|
Install the lower anchor bolt (A).
|
|
3.
|
Install the anchor cover (B).
|
|
nmimm
|
4-door (without outer lap tensioner)
|
|
1.
|
Install the lower anchor bolt (A).
|
|

|
|
2.
|
Install the anchor cover (A).
|
|

|
4-door (with outer lap tensioner)
|
|
1.
|
Install the front seat belt lower anchor (A) to the front seat
belt lap connector (B).
|
|
9. |
Battery Terminal (SRS) - Reconnection |
(o.2ao.sam.
|
NOTE: If the battery performs abnormally, test the battery.
|
|
1.
|
Clean the battery terminals.
|
|
2.
|
Connect the positive cable (A) to the battery.
|
|
NOTE: Always connect the positive side first.
|
|
3.
|
Connect the negative cable and the battery sensor (B) to the
battery.
|
|
NOTE: To protect the battery sensor connector (C) from damage,
do not hold it when installing the negative terminal.
|
|
4.
|
Apply multipurpose grease to the terminals to prevent corrosion.
|
|
865100 LEFT
866100 RIGHT
8551A8 LEFT
Removal
1.
Rear Seat Cushion
1.
Remove the bolt (A) securing th ...