Honda Civic Service Manual: Clutch Master Cylinder Removal and Installation (R18Z1 M/T)
			
			
			211101 

	
		| 
			
				|  | 
 | Use fender covers to avoid damaging painted surfaces. |  | 
	
		| 
			
				|  | 
 | Do not spill brake fluid on the vehicle; it may damage the paint 
				or plastic. If brake fluid does contact the paint or plastic, wash 
				it off immediately with water. |  | 
	
		| 
			
				|  | 
 | Plug the ends of the hoses and joints to prevent spilling brake 
				fluid. |  | 
	
		| 
			
				|  | 
 | Put on gloves to protect your hands. |  | 
	
		| 
 
 | 
			
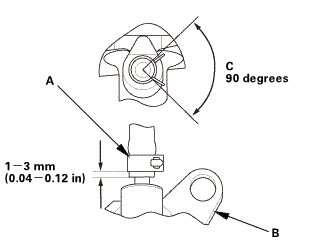
				|  | 1. | Pry out the lock pin (A). |  
 
			
				|  | 2. | Pull the clevis pin (B) out of the clevis. |  
 
			
				|  | 3. | Remove the master cylinder mounting nuts (C). |  | 
	
		| 
 
 | 
			
				| NOTE: Set the wiper arms to the auto-stop position before removal. |  
 
			
				|  | 1. | Remove the cowl top wiper covers (A). |  
 
			
				|  | 2. | Remove the wiper arms (B). |  | 
	
		| 
 
 | 
			
				|  | 1. | Remove the side cowl cover (A). |  
 
			
				|  | 2. | The left side is shown; repeat on the right side. |  | 
	
		| 
 
 | 
			
				|  | 1. | Remove the center cowl cover (A). |  
 
			
				|  | 2. | Disconnect the windshield washer tube (B). |  
 
			
				|  | 3. | If necessary, remove the hood rear seal (C). |  | 
	
		| 
 | 
			
				|  | 1. | Remove the under cowl panel (A). |  | 
	
		|  | 
			
				|  | 1. | Remove and discard the brake fluid from the clutch reservoir 
				with a syringe or other suitable device. |  | 
	
		| 7. | Battery Terminal - Disconnection | 
	
		| 
 
 | 
			
				|  | 1. | Make sure the ignition switch is in LOCK (0), or the vehicle 
				ignition in the OFF mode. |  
 
			
				|  | 2. | Disconnect and isolate the negative cable with the battery sensor 
				(A) from the battery. 
 |  
				|  | NOTE:  |  
				| 
					
						| 
							
								|  | 
								 | Always disconnect the negative side first. |  |  
						| 
							
								|  | 
								 | To protect the battery sensor connector (B) from 
								damage, do not hold it when removing the negative 
								terminal. |  |  
						| 
							
								|  | 
								 | Do not disconnect the battery sensor from the 
								negative terminal (C). |  |  |  
 
			
				|  | 3. | Disconnect the positive cable (D) from the battery. |  | 
	
		| 
 | 
			
				|  | 1. | Remove the battery setting plate (A) and the battery (B). |  | 
	
		| 
 | 
			
				|  | 1. | Remove the intake air pipe. |  | 
	
		| 
 
 | 
			
				|  | 1. | Disconnect the intake air duct (A). |  
 
			
				|  | 2. | Remove the air cleaner (B). |  
 
			
				|  | 3. | Remove the harness clamp (C). |  | 
	
		| 
 
 | 
			
				|  | 1. | Disconnect the connector (A). |  
 | 
	
		| 
 
 | 
			
				|  | 2. | Disconnect ECM/PCM connectors A, B, and C. 
 |  
				|  | NOTE: ECM/PCM connectors A, B, and C have symbols (A=□, B=△, 
				C=○) embossed on them for identification. |  
 
			
				|  | 3. | Remove the ECM/PCM (D). |  | 
	
		| 
 
 | 
			
				|  | 1. | Remove the connectors (A). |  
 
			
				|  | 2. | Remove the harness clip (B). |  
 
			
				|  | 3. | Remove the air cleaner bracket (C). |  | 
	
		| 14. | Clutch Master Cylinder | 
	
		| 
 
 | 
			
				|  | 1. | Disconnect the clutch line (A) from the clutch hose (B). |  
 
			
				|  | 2. | Remove the clutch line from the clamp (C). |  | 
	
		| 
 | 
			
				|  | 3. | Remove the clutch master cylinder (A) with the clutch line (B) 
				and the reservoir hose (C). |  | 
	
		| 
 
 | 
			
				|  | 4. | Remove the reservoir hose (A). |  
 
			
				|  | 5. | Remove the retaining clip (B) for disconnecting the clutch line 
				(C) from the clutch master cylinder (D). Plug or wrap the end of 
				the reservoir hose and the clutch line with a clean shop towel to 
				prevent brake fluid from coming out. 
 |  
				|  | NOTE: Inspect the hose. If the hose has damage, leaks, interference, 
				or twisting, replace it. |  
 
			
				|  | 6. | Remove the O-ring (E). |  
 
			
				|  | 7. | Remove the clutch master cylinder seal (F). |  | 

	
		| 1. | Clutch Master Cylinder Push Rod Inspection | 
	
		|  17inasmm
 | 
			
				|  | 1. | Inspect the length (A) of the clutch master cylinder push rod 
				to the figure as shown. 
 |  
				|  | NOTE: When install the used clutch master cylinder only. |  | 
	
		| 2. | Clutch Master Cylinder | 
	
		| 
 
 | 
			
				|  | 1. | Install a new O-ring (A) on the clutch line (B). |  
 
			
				|  | 2. | Install the clutch line in the clutch master cylinder (C) with 
				a new retaining clip (D). 
 |  
				|  | NOTE: |  
				| 
					
						| 
							
								|  | 
								 | Apply the silicone grease (P/N 08C30-B0234M) 
								to the O-ring and the end (E) of the clutch line. |  |  
						| 
							
								|  | 
								 | Make sure not to get any silicone grease on the 
								terminal part of the connectors and switches, especially 
								if you have silicone grease on your hands or gloves. |  |  |  
 
			
				|  | 3. | Install the reservoir hose (F). |  | 
	
		| 
 | 
			
				|  | 4. | Make sure the hose clamp (A) is positioned on the clutch master 
				cylinder (B) as shown. 
 |  
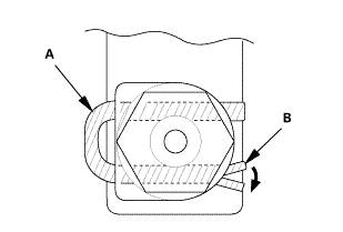
				|  | NOTE: The hose clamp center of tang shall be in the area (C). |  | 
	
		| 
 | 
			
				|  | 5. | To prevent the retaining clip (A) from coming off, pry apart 
				the tip (B) of the clip with a screwdriver. |  | 
	
		| 
 | 
			
				|  | 6. | Install the clutch master cylinder (A) with a new clutch master 
				cylinder seal (B). |  | 
	
		|  us
 
 | 
			
				|  | 7. | Install the clutch line (A) to the clamp (B). |  
 
			
				|  | 8. | Connect the clutch line to the clutch hose (C). |  | 
	
		| 
 
 | 
			
				|  | 1. | Install the master cylinder mounting nuts (A). |  
 
			
				|  | 2. | Connect the clevis (B) to the clutch pedal, then apply multipurpose 
				grease between the clutch pedal and the clevis. 
 |  
				|  | NOTE: Wipe off any excess grease. |  
 
			
				|  | 3. | Apply multipurpose grease to the clevis pin (C). |  
 
			
				|  | 4. | Slide the clevis pin into the clevis. |  
 
			
				|  | 5. | Install the lock pin (D). |  | 
	
		|  22mm)2222
 | 
			
				|  | 1. | Install the under cowl panel (A). |  | 
	
		| 
 
 | 
			
				|  | 1. | If necessary, install the hood rear seal (A). |  
 
			
				|  | 2. | Connect the windshield washer tube (B). |  
 
			
				|  | 3. | Install the center cowl cover (C). |  | 
	
		| 
 
 | 
			
				|  | 1. | Install the side cowl cover (A). |  
 
			
				|  | 2. | The left side is shown; repeat on the right side. |  | 
	
		|  1.122
 
 | 
			
				| NOTE: Set the wiper arms to the auto-stop position before installation. |  
 
			
				|  | 1. | Install the wiper arms (A). |  
 
			
				|  | 2. | Install the cowl top wiper covers (B). |  | 
	
		|  | 
			
				|  | 1. | Refill the brake fluid to the clutch reservoir.  |  | 
	
		| 
 | 
			
				|  | 1. | Make sure the brake fluid level in the clutch reservoir (A) is 
				at the MAX (upper) level line (B). |  | 
	
		| 
 
 | 
			
				|  | 2. | Attach one end of a clear tube to the bleeder screw (A). |  
 
			
				|  | 3. | Put the other end into a container. |  
 
			
				|  | 4. | Loosen the bleeder screw to allow air to escape from the system. |  
 
			
				|  | 5. | Make sure there is an adequate supply of fluid in the reservoir. |  
 
			
				|  | 6. | Slowly push the clutch pedal all the way down. |  
 
			
				|  | 7. | Before releasing the pedal, have an assistant temporarily tighten 
				the bleeder screw. |  
 
			
				|  | 8. | Loosen the bleeder screw, and push the clutch pedal down again. |  
 
			
				|  | 9. | Repeat steps 2 through 8 until no more bubbles appear at the 
				clear tube. 
 |  
				|  | NOTE: Make sure the fluid level on the reservoir does not go 
				below MIN. |  
 
			
				|  | 10. | Tighten the bleeder screw securely. |  
 
			
				|  | 11. | Refill the brake fluid in the reservoir to the MAX (upper) level 
				line. |  | 
	
		| 
 
 | 
			
				|  | 1. | Install the air cleaner bracket (A). |  
 
			
				|  | 2. | Install the harness clip (B). |  
 
			
				|  | 3. | Install the connectors (C). |  | 
	
		| 
 
 | 
			
				|  | 1. | Install the ECM/PCM (D). |  
 
			
				|  | 2. | Connect ECM/PCM connectors A, B, and C. 
 |  
				|  | NOTE: ECM/PCM connectors A, B, and C have symbols (A=□, B=△, 
				C=○) embossed on them for identification. |  | 
	
		| 
 | 
			
				|  | 3. | Install the cover (A). |  | 
	
		|  nomm
 
 | 
			
				|  | 1. | Connect the connector (A). |  
 | 
	
		| 
 
 | 
			
				|  | 1. | Install the harness clamp (A). |  
 
			
				|  | 2. | Install the air cleaner (B). |  
 
			
				|  | 3. | Connect the intake air duct (C). |  | 
	
		| 
 | 
			
				|  | 1. | Install the intake air pipe. |  | 
	
		| 
 | 
			
				|  | 1. | Install the battery (A) and the battery setting plate (B). 
 |  
				|  | NOTE: Do not deform the battery setting plate by over-tightening 
				the nuts. |  | 
	
		| 16. | Battery Terminal - Reconnection | 
	
		| 
 
 | 
			
				| NOTE: If the battery performs abnormally, test the battery. |  
 
			
				|  | 1. | Clean the battery terminals. |  
 
			
				|  | 2. | Connect the positive cable (A) to the battery. 
 |  
				|  | NOTE: Always connect the positive side first. |  
 
			
				|  | 3. | Connect the negative cable and the battery sensor (B) to the 
				battery. 
 |  
				|  | NOTE: To protect the battery sensor connector (C) from damage, 
				do not hold it when installing the negative terminal. |  
 
			
				|  | 4. | Apply multipurpose grease to the terminals to prevent corrosion. |  | 
	
		| 17. | Clutch Pedal Stroke Check | 
	
		| 
 
 | 
			
				|  | 1. | Disconnect the clutch pedal position switch B connector. |  
 
			
				|  | 2. | Loosen the clutch pedal position switch B locknut (A). |  
 
			
				|  | 3. | Back off clutch pedal position switch B until it no longer touches 
				the clutch pedal (C). |  
 
			
				|  | 4. | Pull the clutch pedal by hand, then turn clutch pedal position 
				switch B until it contacts the clutch pedal. |  
 
			
				|  | 5. | Turn in clutch pedal position switch B an additional 3/4 to 1 
				turn. |  
 
			
				|  | 6. | Make sure the clutch pedal height did not change. |  
 
			
				|  | 7. | While holding clutch pedal position switch B, tighten the locknut. |  
 
			
				|  | 8. | Connect the clutch pedal position switch B connector. |  | 
	
		| 
 | 
			
				|  | 9. | Measure the clutch pedal stroke (A). 
 |  
				|  | 
					
						| 
							
								| (A) Clutch Pedal Stroke: |  
								| 125-135 mm (4.92-5.31 in) |  
								| (B) Clutch Pedal Free Play (Reference): |  
								| 7-18 mm (0.28-0.71 in) |  |  
						|  |  
 |  
				|  | (C) Clutch Pedal Height (Reference)*: 
					
						| 
							
								| Without clutch pedal pad cover | 151.8 mm (5.976 in)
 |  
								| With clutch pedal pad cover | 156 mm (6.14 in)
 |  |  
						|  |  
 |  
				|  | *: Measure the clutch pedal height from right side middle of 
				the clutch pedal cover or the clutch pedal pad cover (D) to the 
				floor without the insulation. 
 |  
				|  | (E) Clutch Pedal Disengagement Height (Reference)*: 
					
						| 
							
								| Without clutch pedal pad cover | 66.7-75.0 mm (2.626-2.953 in)
 |  
								| With clutch pedal pad cover | 69.7-78.1 mm (2.744-3.075 in)
 |  |  
						|  |  
 |  
				|  | *: Measure the clutch pedal disengagement height from right side 
				middle of the clutch pedal cover or the clutch pedal pad cover (D) 
				to the floor without the insulation. |  | 
	
		| 
 
 | 
			
				|  | 1. | Connect the HDS to the data link connector (DLC) (A) located 
				under the driver's side of the dashboard. |  
 
			
				|  | 2. | Turn the ignition switch to ON (II). |  
 
			
				|  | 3. | Make sure the HDS communicates with the vehicle. If it does not 
				communicate, go to the DLC circuit troubleshooting. |  | 
	
		| 19. | Clutch Pedal Position Switch A Adjustment | 
	
		| 
 
 | 
			
				|  | 1. | Loosen the clutch pedal position switch A locknut (B). |  
 
			
				|  | 2. | Fully press the clutch pedal to the floor, then release the clutch 
				pedal 17.5-22.5 mm (0.689-0.886 in) and hold it there. 
 |  
				|  | NOTE: Measure the clutch pedal height from middle of the clutch 
				pedal cover or the clutch pedal pad cover (C). |  
 
			
				|  | 3. | Check CLUTCH PEDAL POSITION SWITCH A in the PGM-FI DATA LIST 
				with the HDS. |  
 
			
				|  | 4. | Adjust clutch pedal position switch A when the HDS screen indicates 
				CLOSE to OPEN. 
 |  
				|  | NOTE: Be careful not to twist the wire. |  
 
			
				|  | 5. | While holding clutch pedal position switch A, tighten the locknut. |  
 
			
				|  | 6. | Check the clutch pedal does not contact to the clutch pedal position 
				switch A body when fully pressing the clutch pedal to the floor. |  | 
	
		| 20. | Clutch Operation Check | 
	
		|  | 
			
				|  | 1. | Check the clutch operation. |  
 | 
	
		|  | 
			
				|  | 1. | Test-drive the vehicle. |  | 
   2111C5 
	
		
		NOTE:
		
	
	
		
		
			
				
				
				
				
				
				Use fender covers to avoid damaging painted surfaces.
				
			
		
		
	
	
		
		
			
				
				
				
 ...
   
 
   2111A0 
	
		1. 
		Clutch Pedal Position Switch Connector
	
	
		
				
		
		
						
			
				
				
				1.
				
				
				Disconnect the connectors.
				
			
		
		
	
 ...
   
 
   See also:
Honda Civic Owners Manual. Display Setup
  		You can change the brightness or color theme of the audio/information screen.
Changing the Screen Brightness
1. Press the MENU/CLOCK button.
2. Rotate  to select Settings, then 
press  
.
3. Rotate   to select Display 
Adjustment,
then press   .
4. Rotate  to select ...